广晟服务热线:13573670168
0536-6808888
Banner

门诊医疗废水处理设备价格

门诊医疗废水处理设备价格咨询厂家山东广晟环保公司.十年以上研发、销售实力.产品有一体化生活污水处理设备,气浮机,带式污泥脱水压滤机等.品质保证.价格优惠.包安装调试.

一、门诊医疗废水处理依据:

1、进水水质

由于需方没有提供污水水质指标,参照其他医院的实际污水水质指标;   

2、设计污水水量

按《医院污水处理技术指南》(环发【2003】197号)的规定,平均日污水量取0.4立方/床,理论设计水量按实际床位数计算。

3、出水水质要求

根据《医疗机构水污染物排放标准》GB18466-2005中所规定的排放标准执行

mmexport1558256674623_副本.jpg

二、门诊医疗废水处理设备工艺介绍:

  生物接触氧化法:生物接触氧化法生物池内设置填料,由于填料的比表面积大,池内充氧条件好,生物接触氧化池内单位容积的生物体量都高于活性污泥法曝气池及生物滤池,因此生物接触氧化池具有较高的容积负荷,由于相当一部分微生物固着生长在填料表面,生物接触氧化法可不设污泥回流系统,也不存在污泥膨胀问题,运行管理方便,由于生物接触氧化池内生物固体量多,水流属于完全混合型,因此生物接触氧化池对水质水量的骤变有较强的适应能力,生物接触氧化工艺大多适应于生活、医院、疗养院、宾馆、住宅小区、与生活污水类似的各种工业有机废水。

医院污水.jpg

三、门诊医疗废水处理设备工艺确定

  本方案采用生物接触氧化处理工艺,生物处理装置要求技术可行,运行费用低廉,经济合理,设备可靠先进,工艺技术具有一定的耐冲击负荷和操作灵活性。整体布局应简洁,合理、美观、实用、减少动力消耗等。

mmexport1499846208511.jpg

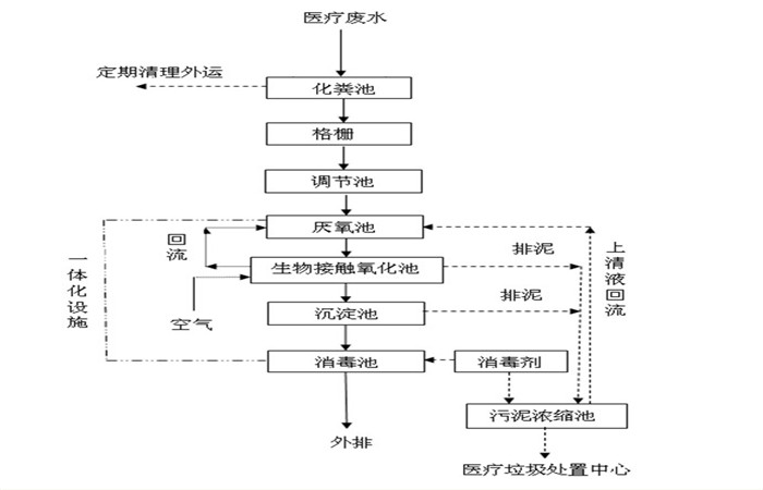
四、门诊医疗废水处理设备

格栅:拦截去除进水中大块呈悬浮或漂浮状态的污物,保护水泵,并防止水泵与后续管路系统被阻塞

化粪池:化粪池是基本的污泥处理设施 ,同时也是生活污水的预处理设施

调节池:指的是用以调节进、出水流量的构筑物。 狭义定义:为了使管渠和构筑物正常工作,不受废水高峰流量或浓度变化的影响,需在废水处理设施之前设置调节池

水解酸化池:将大分子有机物转化为小分子有机物,将难溶性有机物转化为可溶性有机物,提高废水的可生化性,降低后续处理设施的运行负荷,提高污染物去除效率。

接触氧化池:通过微生物的新陈代谢吸附、降解水中的污染物,达到净化废水的目的。

消毒池:二氧化氯发生器进行有效消毒,达标排放。

mmexport1559222587339_副本.jpg


门诊医疗废水处理设备价格 2020-6-16 本文被阅读 9987 次
< a href=" ">在线客服