广晟服务热线:13573670168
0536-6808888
Banner

小型医疗废水处理设备

一、小型医疗废水处理设备:

  小型医疗废水处理设备采用生物接触氧化处理工艺,生物处理装置要求技术可行,运行费用低廉,经济合理,设备可靠先进,工艺技术具有一定的耐冲击负荷和操作灵活性。小型医疗污水处理设备是专门针对医院废水水质特点设计研发而成。

IMG_20190425_081855_副本.jpg

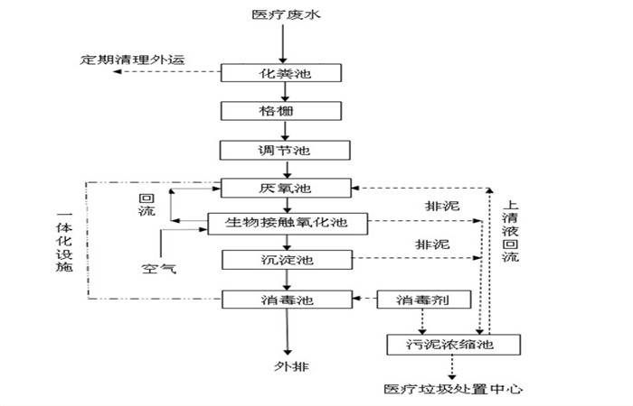
二、小型医疗废水处理设备工艺介绍:

  小型医疗废水处理设备工艺选择采用“厌氧生化+生物接触氧化法+消毒”为主的处理工艺.

  1、调节池:经预处理后的合流污水经格栅去除大颗粒漂浮物后自流到调节池,在调节池中均化水质水量,自行调节温度、浓度、pH值等,然后通过泵提升至厌氧池;

  2、厌氧池: 有机物分别被聚磷菌和反硝化细菌利用后浓度已很低,有利于自养的硝化菌的生长繁殖。主要作用是除氮。

医院污水.jpg

  3、接触氧化池:接触氧化池是一种以生物膜为主,兼有活性污泥的生化处理装置。污水中的大部分有机物在此得到降解和净化,好氧菌以填料为载体,利用污水中的有机物为营养,将污水中的有机物分解成无机盐类,从而达到净化的目的。好氧菌的生存,必须有足够的氧气,即污水中有足够的溶解氧,以达到生化处理的目的。好氧池的处理效果好坏取决于填料与曝气器,本设备采用目前国内先进的填料与曝气器。

  4、二沉池:污水经好氧池处理后自流进入二沉池,在二沉池中进行泥水分离,上清液经溢流堰溢流进入消毒池。沉淀污泥经泵回流至缺氧池或提升至污泥浓缩池,污泥浓缩消毒后吸粪车外运,滤液回流至调节池。

  5、消毒池:对污水进行消毒,杀灭病菌,达标后排放。

IMG_6988(20200321-100146)_副本.jpg

三、小型医疗废水处理设备特点:

1、抗冲击负荷的能力强,接触氧化法的平均停留时间在6小时以上。

2、具有脱氮除磷能力,并可以通过调节设备的构造,达到处理工业废水,生活污水,城市污水的能力。

3、接触氧化池内的填料多为组合软填料,质轻、高强、物理化学性质稳定,比表面积大,生物膜附着能力强,污水与生物膜的接触效率高。

4、接触氧化池内采用曝气器进行鼓风曝气,使纤维束不断漂动,曝气均匀,微生物生长成熟,具有活性污

泥法的特征。

5、出水水质稳定,污泥产量少并易于处理。

mmexport1559222587339_副本.jpg


小型医疗废水处理设备 2020-6-20 本文被阅读 1021 次
< a href=" ">在线客服