广晟服务热线:13573670168
0536-6808888
Banner

医疗废水处理一体化设备

医疗废水处理一体化设备:

  随着城镇化的进行,医疗机构对废水的处理能力已经不能满足现有的需要,因此,急需对现有的污水处理设施进行升级改造。医疗废水处理一体化设备因其设备紧凑,占地面积小,管理维护方便,受到医院的青睐。

IMG_20190425_081855_副本.jpg

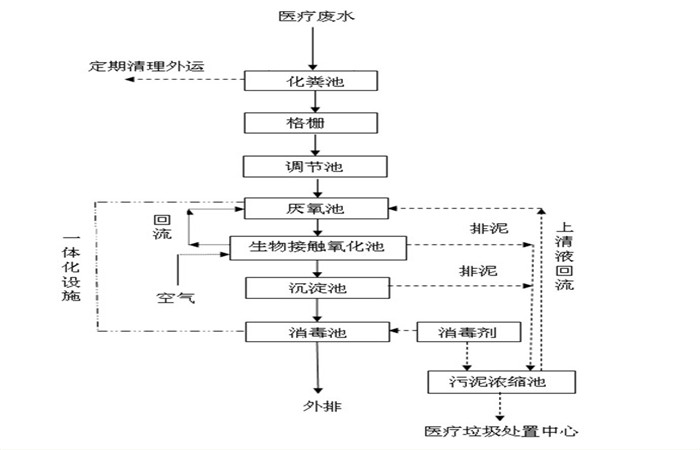
医疗废水处理一体化工艺:

  采用水解酸化-生物接触氧化-沉淀-消毒工艺为例,介绍污水处理一体机的组成和设计思路。

(1)格栅池:去除污水中较大的漂浮物及悬浮物以保证污水提升泵的正常运行,对水泵和后续处理单元起保护作用。

(2)调节池:调节水质、水量,医疗废水虽然相对平稳,但仍存在水质、水量上的波动,设立调节池可使污水处理系统连续地运行并调节污水的浓度,有效延长处理设备的寿命,提升处理效果。

(3)接触氧化池:在曝气充氧条件下,利用好氧微生物分解废水中有机物,彻底降解废水中有机污染物。

(4)沉淀池:进一步去除生化池出水中的脱落生物膜及其它悬浮物,实现泥水分离,污泥排至污泥池浓缩处理,上清液排入接触消毒池。

(5)消毒池:对二沉池出水投加消毒剂进行消毒,使粪大肠菌群数指标达到排放标准的要求,满足医院排水的卫生标准。

医院污水.jpg

医疗废水处理一体化污泥处理系统:

  污泥池主要是储存污泥,同时污泥在污泥池内进行浓缩,降低含水率。二沉池内设置潜水污泥泵,可根据需要将沉积于池底的污泥吸入水解池回流处理,减少系统污泥量,剩余污泥定期由污泥泵送入污泥浓缩池。            

  污泥池底部污泥定期消毒后通过拖车运送到专业公司处理。根据《医院污水处理设计规范》,医院污水处理构筑物内的污泥应由具有相应资质的单位或部门定期清理。所有污泥必须经过有效的消毒处理,在符合有关标准的规定后,方可消纳。产生的污泥主要为生物污泥,可部分回流。

IMG_20190826_160700_副本.jpg

医疗废水处理一体化工艺流程说明:

  医疗废水首先进入格栅井,格栅的作用主要是拦截污水中的漂浮物及颗粒物,减轻后续设备的处理负荷和保护水泵正常工作。

  从格栅出来的水有提升泵提升到调节池,调节池的作用是调节水质和水量,使不同时间、不同水质的水充分混合,保证进入到后续设备的水质与水量均匀一致,还可以降低一定的负荷,使整套处理设备耐受短时间较高的负荷冲击。为防止SS在调节池沉淀,在调节池中安装几根曝气软管,起搅拌作用,同时调节池具有水解、酸化池的功能,可将部分大分子有机污染物降解为小分子污染物,去除部分有机污染物。

mmexport1499846208511.jpg

  调节池出来的水自流至一体化医院污水处理设备的水解酸化池,将不易分解的大分子有机物厌氧消化为易分解的小分子有机物,后废水进入接触氧化池,在曝气池中设置填料,将其作为生物膜的载体。待处理的废水经充氧后以一定流速流经填料,与生物膜接触,生物膜与悬浮的活性污泥共同作用,达到净化废水的作用。

  生物处理后的废水自流入沉淀池,沉淀后上清液自流入消毒池,经过二氧化氯消毒后达标排放。

mmexport1559222587339.jpg


医疗废水处理一体化设备 2020-7-13 本文被阅读 945 次
< a href=" ">在线客服